很多朋友会有个疑问:我的宽带100M,下载速度怎么只有6M左右,达不到10M;有时感觉网速太慢,看在线视频很卡。
别再抱怨室友占用了太多网络资源或家里网络带宽不够!试试优化一下UPnP设置,网络加速其实很简单,让你的网速再飞快一点!
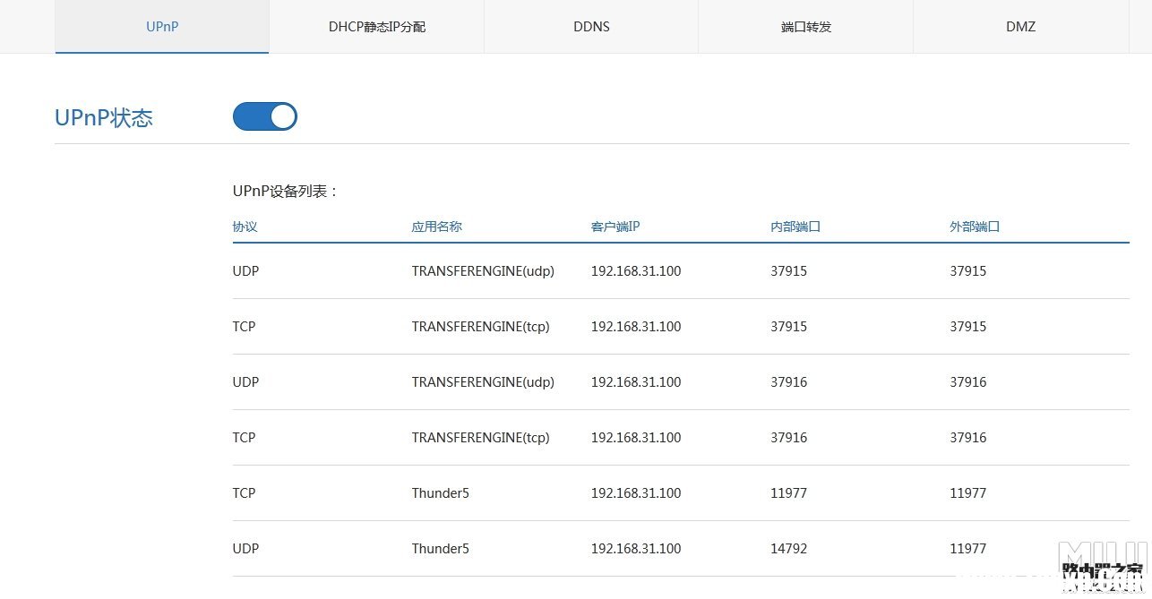
下面就来介绍一下如何设置UPnP。
一.设置UPnP前后网速差别
未设置UPnP时的网速

设置UPnP后的网速。效果显而易见,6M/S加速到9M/S。


电脑端未设置UPnP,设备有6个。

电脑端设置UPnP后,设备减少为两个。

二.路由器开启UPnP
小米路由器mini版是默认开启的,路由设置-高级设置-UPnP。其他品牌路由器UPnP位于”转发规则“里面,这里就不累述。

三.电脑端开启UPnP
电脑以windows 7系统为例,鼠标右键单击“我的电脑”,左键点击“管理”--“服务和应用程序”--“服务”项

将Funtion Discovery Resource Publication设置为自动。


同法将UPnP Device Host和SSDP Discovery也设置为自动。


控制面板-网络及共享中心-更改高级共享设置

“网络发现”里改为“启用网络发现”。

四.软件开启UPnP
以迅雷为例,点击设置-我的下载-任务默认属性,勾选”启用UPnP支持“。

“EMule设置”里勾选“连接KAD网络”和“连接ED2K网络”。

其他视频或下载软件可在软件的设置里去查看是否开启UPnP。
好了,设置大功告成!查看一下,你的网速是否有提升,在线视频还卡不卡?希望以上技巧能帮助到大家!!